Форум Privat Aero

Сообщество людей, увлеченных авиацией
planes
Текущее время: 03 ноя 2025, 01:28

Часовой пояс: UTC + 2 часа [ Летнее время ]




Начать новую тему Ответить на тему  [ Сообщений: 198 ]  На страницу Пред.  1 ... 10, 11, 12, 13, 14, 15, 16 ... 20  След.
Автор Сообщение
 Заголовок сообщения: Re: RSM-5. Поиск инвестора.
СообщениеДобавлено: 18 апр 2018, 21:10 
Не в сети
Частый гость
Аватара пользователя

Зарегистрирован: 25 мар 2016, 12:47
Сообщения: 378
Блеск и красота! Понятно и правильно всё обосновано, показан результат ошибок проектирования и легкомысленного подходя к важному делу. Сергей Николаевич, Вы в шаге от "открытой платформы", как это сделала IBM в 1981 году со своей платформой IBM PC или ArmaLite с AR-15.

За равномерно преднатянутые углеволоконные нити в правильных направлениях - отдельная благодарность: Вы, профессиональный конструктор, подтвердили мои любительские догадки о том, что есть смысл мотать лонжерон вдоль размаха не тканью, а прямыми волокнами с преднатягом. Чудная штука, эти композитные технологии, теоретические векторы нагрузок можно выкладывать осязаемым материалом.

А вот про стеклоткань и направления в стенках лонжерона не понял. Можно остановиться на этих моментах подробнее и с картинками?

_________________
Слова остаются словами, а дела постепенно ведут к цели. (C) DANik


Вернуться к началу
  Профиль  
 
 Заголовок сообщения: Re: RSM-5. Поиск инвестора.
СообщениеДобавлено: 18 апр 2018, 23:19 
Не в сети
Знаток

Зарегистрирован: 26 апр 2011, 01:08
Сообщения: 1839
Откуда: Ukraine
Toris писал(а):
А вот про стеклоткань и направления в стенках лонжерона не понял. Можно остановиться на этих моментах подробнее и с картинками?

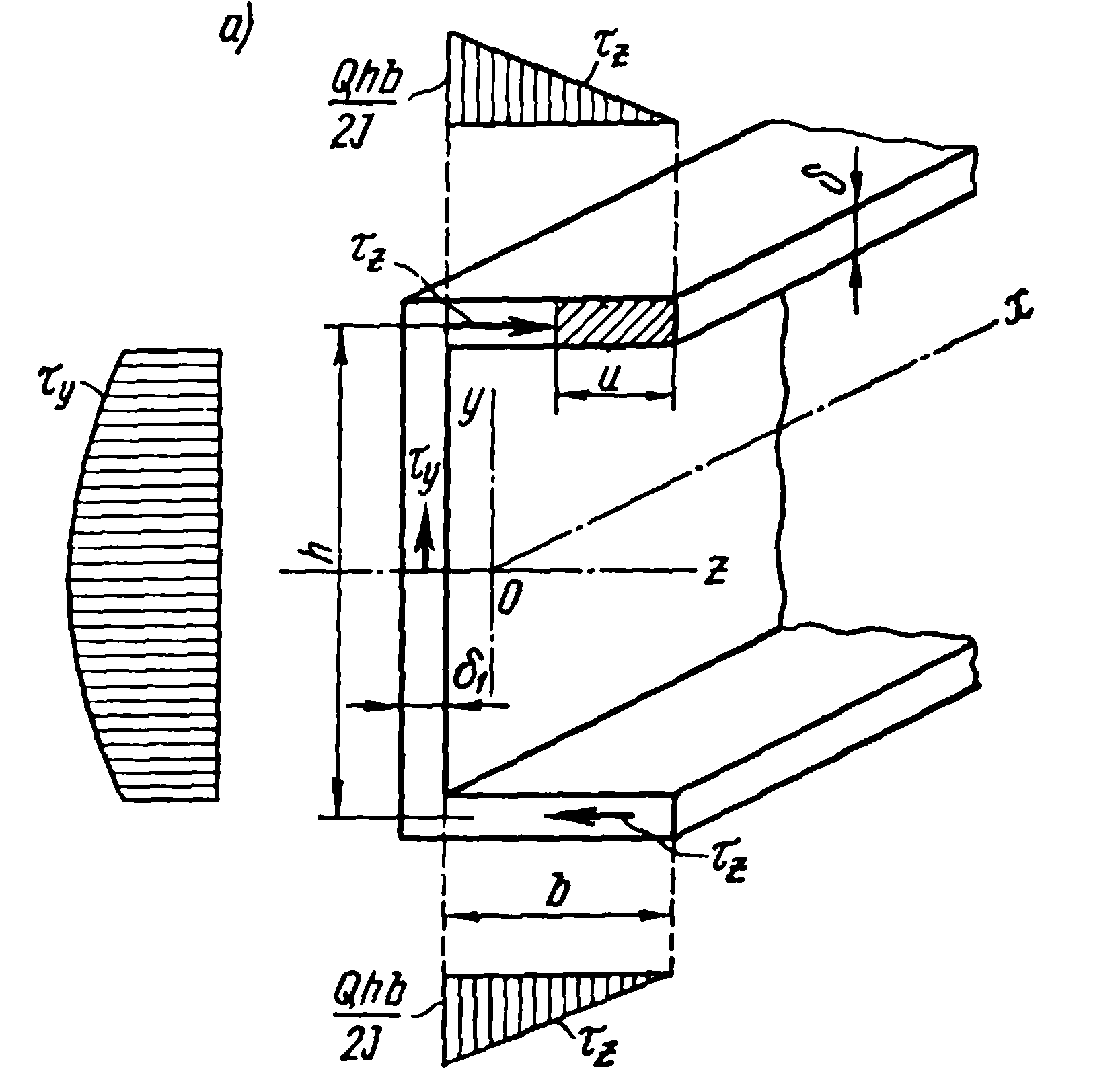
Обычно при изгибе двутавра, рисуют вот такую картинку напряжений при изгибе.
Вложение:
Напр. двутавр.png
Напр. двутавр.png [ 17.74 КБ | Просмотров: 7213 ]

На эпюре касательных напряжений, видите остренькие хвостики вверху о внизу:
Вложение:
Касательные.png
Касательные.png [ 8.14 КБ | Просмотров: 7213 ]

Так распределяются касательные напряжения в вертикальной плоскости полки. В этой плоскости разница напряжений в полке не велика.
Но редко показывают распределение напряжений в горизонтальном направлении от стенки лонжерона к краям полки:
Вложение:
Напряжения в полке двутавра.jpg
Напряжения в полке двутавра.jpg [ 5.27 КБ | Просмотров: 7213 ]

Здесь картина похуже. Аналогично происходит и в швеллере:
Вложение:
Распределения в полке.png
Распределения в полке.png [ 23.16 КБ | Просмотров: 7213 ]

Это возникает потому, что полкам сдвигаться относительно друг друга не даёт стенка:
Вложение:
Сдвиг.jpg
Сдвиг.jpg [ 104.98 КБ | Просмотров: 7213 ]

Стенка "тянет" ближние к ней слои и через касательные напряжения, нагрузка передаётся к краям полки. Так вот прочности смолы может не хватить для передачи этой нагрузки от стенки к краям полки. Для устранения этого явления делают несколько стенок. Если будет две стенки, то их нельзя сделать в два раза тоньше одной из-за потери устойчивости. Поэтому в сумме, несколько стенок будут тяжелее, чем одна.
Почему опасно сжатие, возьмите листов двадцать бумаги в две руки и вначале растяните листы, а потом сожмите. Между листами при сжатии образуются зазоры. Листы были не склеены, но угленити не бумага и нагрузки поболее. Где нить имеет изгиб, будет происходить процесс, как между листами бумаги, т.к. огромная разница в жёсткости угля и прочности смолы.
Из картинки сдвига и роста вертикальной силы от конца крыла к корню, Вы должны понять вторую часть своего вопроса.


Вернуться к началу
  Профиль  
 
 Заголовок сообщения: Re: RSM-5. Поиск инвестора.
СообщениеДобавлено: 18 апр 2018, 23:51 
Не в сети
Знаток

Зарегистрирован: 26 апр 2011, 01:08
Сообщения: 1839
Откуда: Ukraine
S.Ryzhyy писал(а):
Из картинки сдвига и роста вертикальной силы от конца крыла к корню, Вы должны понять вторую часть своего вопроса.

Вот так будет понятней:
Вложение:
Касательные.png
Касательные.png [ 8.14 КБ | Просмотров: 7212 ]

Вложение:
1_Raschet_balk_na_izgib_KONSOL_V1_456.jpg
1_Raschet_balk_na_izgib_KONSOL_V1_456.jpg [ 5.26 КБ | Просмотров: 7212 ]

В каждом сечении вдоль размаха крыла, нужно наложить эти эпюры.
А если быть совсем точным, то нужно ещё учитывать нервюры, которые помогают стенке держать вертикальную нагрузку. При этом ещё и учитывать, что через нервюры и передаётся большая часть вертикальной нагрузки на лонжерон (в зависимости от применяемой обшивки крыла). :)
Потому что может быть обшивка совсем не требующая нервюр.


Вернуться к началу
  Профиль  
 
 Заголовок сообщения: Re: RSM-5. Поиск инвестора.
СообщениеДобавлено: 19 апр 2018, 07:58 
Не в сети
Знаток

Зарегистрирован: 26 апр 2011, 01:08
Сообщения: 1839
Откуда: Ukraine
Из-за распределения касательных напряжений в полке "от стенки к краям полки", "правильный двутавр", имеет не такие полки:
Вложение:
Сечен..png
Сечен..png [ 5.89 КБ | Просмотров: 7196 ]

а такие:
Вложение:
Сечение.png
Сечение.png [ 165.65 КБ | Просмотров: 7196 ]

Посмотрите, сколько "безболезненно"можно убрать лишнего веса. А если "правильно" к лонжерону приформовывается "правильная" обшивка крыла, то вес полок можно ещё облегчить, а на концах крыла и вовсе от них избавиться. Ровно как и иметь полки у отдельных нервюр, когда их роль будет выполнять материал приформовки к обшивке крыла. Вот такой он "супермат" :), тобиш сопромат.
Думаю теперь понятно, почему "лонжерон от Вегера", я называю углепластиковым бревном.


Вернуться к началу
  Профиль  
 
 Заголовок сообщения: Re: RSM-5. Поиск инвестора.
СообщениеДобавлено: 19 апр 2018, 09:54 
Не в сети
Знаток

Зарегистрирован: 26 апр 2011, 01:08
Сообщения: 1839
Откуда: Ukraine
Toris, вот тут можете так же найти ответы на Ваши вопросы:
http://selenasys.com/Public/Influence.aspx
Обратите внимание на две таблицы, показывающие погрешности расчётов, когда не учитывают напряжения сдвига. Именно те напряжения, которые расслаивают композитные полки лонжеронов. И заставляют трещать "по швам" пластиковые рессоры.


Вернуться к началу
  Профиль  
 
 Заголовок сообщения: Re: RSM-5. Поиск инвестора.
СообщениеДобавлено: 19 апр 2018, 10:11 
Не в сети
Частый гость
Аватара пользователя

Зарегистрирован: 25 мар 2016, 12:47
Сообщения: 378
S.Ryzhyy писал(а):
Думаю теперь понятно, почему "лонжерон от Вегера", я называю углепластиковым бревном.
Более чем.

S.Ryzhyy писал(а):
Toris, вот тут можете так же найти ответы на Ваши вопросы:
http://selenasys.com/Public/Influence.aspx
Обратите внимание на две таблицы, показывающие погрешности расчётов, когда не учитывают напряжения сдвига. Именно те напряжения, которые расслаивают композитные полки лонжеронов. И заставляют трещать "по швам" пластиковые рессоры.
Спасибо большое, Сергей Николаевич, и за развёрнутый ликбез, и за ссылку на специальный сопромат. Отложил работу в сторону и поразмышлял часок над Вашими сообщениями. Поскольку я не проходил сопромат в полном объёме (напомню, я радиоэлектронщик по техническому образованию), то на сдвигах и эпюрах "тау" мозг немножко закипел. Вроде разобрался - и сразу куча новых идей. К выходным, надеюсь, созреют.

Это что же получается, слабое место композитных технологий - работа на сжатие? Хоть бери и мрамор с чугуном вставляй в карбоновый чулок? Или есть спасительные пути массой полегче?

_________________
Слова остаются словами, а дела постепенно ведут к цели. (C) DANik


Вернуться к началу
  Профиль  
 
 Заголовок сообщения: Re: RSM-5. Поиск инвестора.
СообщениеДобавлено: 19 апр 2018, 10:54 
Не в сети
Писатель

Зарегистрирован: 04 мар 2014, 11:06
Сообщения: 684
Откуда: г.Киев
Toris писал(а):
Это что же получается, слабое место композитных технологий - работа на сжатие? Хоть бери и мрамор с чугуном вставляй в карбоновый чулок? Или есть спасительные пути массой полегче?

:twisted: Как и работа на сжатие бумаги. Но вот если взять листик бумаги, пропитать хотя бы клеем ПВА и затем скрутить в трубочку, дать просохнуть :shock: Получится очень прочный элемент конструкции :good:
Так и композиты, сжатие не слабое место применения композитов. Эти материалы изобрели для изготовления объёмных конструкций. На которые действуют и силы сжатия, и силы растяжения. Главное понимать общую картину действия сил в элементе. И в соответствии с этим, распределять материал количественно. :oops:
:beer:


Вернуться к началу
  Профиль  
 
 Заголовок сообщения: Re: RSM-5. Поиск инвестора.
СообщениеДобавлено: 19 апр 2018, 12:08 
Не в сети
Частый гость

Зарегистрирован: 31 май 2015, 15:27
Сообщения: 422
Toris писал(а):
S.Ryzhyy писал(а):
Думаю теперь понятно, почему "лонжерон от Вегера", я называю углепластиковым бревном.
Более чем.

нда....


Вернуться к началу
  Профиль  
 
 Заголовок сообщения: Re: RSM-5. Поиск инвестора.
СообщениеДобавлено: 19 апр 2018, 12:43 
Не в сети
Знаток

Зарегистрирован: 26 апр 2011, 01:08
Сообщения: 1839
Откуда: Ukraine
Toris писал(а):
Это что же получается, слабое место композитных технологий - работа на сжатие? Хоть бери и мрамор с чугуном вставляй в карбоновый чулок? Или есть спасительные пути массой полегче?

Суханов Александр писал(а):
Главное понимать общую картину действия сил в элементе. И в соответствии с этим, распределять материал количественно. :oops:
:beer:


Вернуться к началу
  Профиль  
 
 Заголовок сообщения: Re: RSM-5. Поиск инвестора.
СообщениеДобавлено: 20 апр 2018, 00:05 
Не в сети
Знаток

Зарегистрирован: 26 апр 2011, 01:08
Сообщения: 1839
Откуда: Ukraine
Немного пофлужу.
http://ru.knowledgr.com/01085853/%D0%AD ... 1%82Wigner
"Любое тело может быть затронуто эффектом Wigner, но эффект представляет большую часть интереса в замедлителях нейтронов, таких как графит, предназначенный, чтобы уменьшить скорость быстрых нейтронов, таким образом превращая их в тепловые нейтроны, способные к поддержке ядерной цепной реакции, включающей уран 235."

Возникает вопрос, насколько опасно летать над Чернобылем с углепластиковыми деталями в самолёте? :%)
Об эффекте Вигнера вспомнил, увидев фото разрушенного двигателя Боинга:
https://www.rbc.ua/rus/news/ssha-samole ... 96390.html
Вложение:
737.jpg
737.jpg [ 212.78 КБ | Просмотров: 7109 ]

Нужно отдать должное пилоту - женщине "со стальными яйцами" :)
От чего в полёте разлетелся вентилятор, расследование ВОЗМОЖНО определит. Лопасти там углепластиковые. Авария произошла на высоте более 3000м. Неужели так высоко птички залетели? Ну, одна могла. Думаю одной было бы маловато.
Учитывая, что лопатки там углепластиковые, неужели брак изготовления?


Вернуться к началу
  Профиль  
 
Показать сообщения за:  Поле сортировки  
Начать новую тему Ответить на тему  [ Сообщений: 198 ]  На страницу Пред.  1 ... 10, 11, 12, 13, 14, 15, 16 ... 20  След.

Часовой пояс: UTC + 2 часа [ Летнее время ]


Кто сейчас на конференции

Сейчас этот форум просматривают: нет зарегистрированных пользователей и гости: 1


Вы не можете начинать темы
Вы не можете отвечать на сообщения
Вы не можете редактировать свои сообщения
Вы не можете удалять свои сообщения
Вы не можете добавлять вложения

Найти:
Перейти:  
cron
Powered by phpBB © 2000, 2002, 2005, 2007 phpBB Group
Русская поддержка phpBB